Twin-shaft kiln
Twin-shaft kiln
Twin-shaft kiln

Horno de doble eje

El horno de doble eje representa la tecnología más avanzada disponible actualmente en hornos de cal. Funciona alternando el proceso de calcinación entre dos ejes interconectados, lo que permite producir cal con alta reactividad y calidad superior que satisface los requisitos de la mayoría de los usuarios del mercado. Además, su capacidad para utilizar múltiples tipos de combustible lo hace muy adecuado para empresas de producción de cal a gran escala.

Aplicaciones: Plantas de cal de tamaño mediano a grande con estrictos requisitos de calidad.

1.Alta eficiencia térmica y bajo consumo energético:

Basado en el diseño de «calcinación alterna + recuperación de calor residual», la eficiencia térmica alcanza entre el 75 % y el 85 %, superando con creces la de los hornos verticales de calor único (50 %-60 %); el consumo de combustible por unidad de producto es bajo. Tomando como ejemplo la calcinación de la cal, el consumo de combustible por tonelada de cal activa es de solo 80-120 m³ (gas natural) o 120-150 kg (carbón pulverizado), lo que supone un 20-30 % menos que el de los hornos verticales de calor único.

2.Excelente rendimiento medioambiental, emisiones conformes con las normas:

Emplea un sistema de purificación de dos etapas compuesto por un «colector de polvo ciclónico + filtro de mangas», que logra una concentración de emisiones de polvo ≤10 mg/m³, muy por debajo del estándar nacional de emisiones (30 mg/m³); el aire de combustión a baja temperatura y el diseño de llama corta durante la combustión garantizan una concentración de emisiones de NOx ≤300 mg/m³, lo que cumple con los estándares sin necesidad de equipos de desnitrificación adicionales.

3.Gran adaptabilidad, calidad estable del producto:

Puede procesar diversas materias primas (piedra caliza, dolomita, magnesita, etc.), con una amplia gama de tamaños de partículas de materia prima (20-80 mm) y una gran tolerancia a las fluctuaciones en la composición de la materia prima (las fluctuaciones en el contenido de CaCO₃ de ±5 % no afectan a la calidad del producto acabado). El modo de calcinación alterna garantiza un campo de temperatura uniforme dentro del horno (diferencia de temperatura ≤50 ℃), lo que da como resultado una alta actividad del producto acabado (actividad de la cal ≥300 ml/4N-HCl), una baja tasa de cocción insuficiente/excesiva (≤5 %) y una estabilidad de calidad superior en comparación con los hornos rotativos (tasa de cocción insuficiente/excesiva ≤8 %).

4.Ocupación de poco terreno y bajo coste de inversión.:

Entre el 30 % y el 50 % del espacio ocupado por un horno rotatorio de la misma capacidad (por ejemplo, una línea de producción de cal de 300 toneladas al día requiere aproximadamente 800 m²), lo que reduce la inversión en ingeniería civil entre un 20 % y un 30 %.
El equipo tiene una estructura sencilla (sin componentes de transmisión complejos), lo que se traduce en un coste de adquisición entre un 40 % y un 50 % inferior al de un horno rotatorio, y un periodo de instalación corto (3-4 meses), lo que lo hace adecuado para el rápido despliegue de la producción por parte de pequeñas y medianas empresas.

5.Funcionamiento estable y bajos costes de mantenimiento.:

El modo de funcionamiento alternativo elimina las zonas de alta temperatura continua, lo que prolonga la vida útil del revestimiento del horno (ladrillos refractarios) a entre 3 y 5 años, superando con creces la de los hornos rotativos (1-2 años); los componentes principales (válvulas de inversión, quemadores) tienen una baja tasa de fallos, con un tiempo de funcionamiento anual superior a 8000 horas.

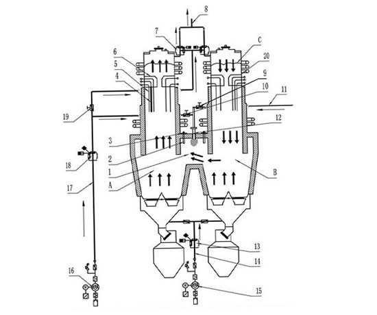
Principio de funcionamiento

El horno de doble eje calcina la piedra caliza utilizando dos cámaras. El eje A y el eje B están conectados en la parte inferior de la zona de calcinación, y el material se desplaza hacia abajo a través de ambos ejes. Durante la calcinación en el eje A, el aire de combustión y el combustible fluyen en paralelo al material en el eje A, lo que permite que la llama caliente entre en contacto con el material más frío y altamente endotérmico. Por el contrario, los gases de combustión, a una temperatura relativamente más baja, interactúan con el material calcinado progresivamente, lo que permite obtener condiciones de calcinación uniformes y una alta eficiencia térmica. Los productos de la combustión y el CO₂ liberados por la descomposición del material pasan a través del canal de conexión al eje B. En esta fase, el eje B actúa como cámara regenerativa, donde la piedra caliza del interior absorbe el calor de los gases de escape, mientras que estos se enfrían hasta alcanzar una temperatura relativamente baja. El material almacena calor, que luego se utiliza para precalentar el aire de combustión para el siguiente ciclo. En esta configuración, el eje A sirve como eje de combustión, reflejando la característica de flujo paralelo, mientras que el eje B funciona como eje regenerativo con propiedades de almacenamiento de calor. En el siguiente ciclo, las funciones se alternan: el eje A se convierte en la cámara regenerativa y el eje B se convierte en el eje de combustión. Esto permite la calcinación continua de la piedra caliza.


CASO RELACIONADO

Solicitar un presupuesto

*
*
*
*
*
*
*

Derechos de autor © LIMING MACHINERY CO., LTD. Todos los derechos reservados. Política de privacidad